The website doesn't support your browser. Please update your browser or download a different one
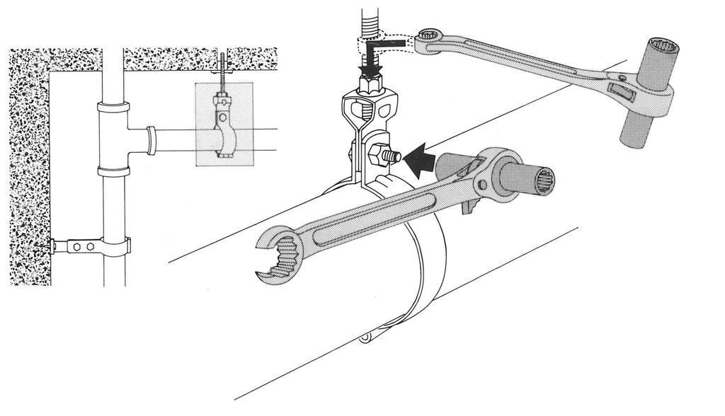
TOP Kogyo (TOP) Hanging Band Wrench 10x13mm (Ratchet) 12mm (Flare Nut Wrench) with Box End for Plumbing and Pipework PHW-1013-3 Made In Tsubame-Sanjo,
Current price
Price €119.56VAT included
Delivering across 🇬🇧 United Kingdom
10–31 business days · €3.47 per order
Your payments and privacy are safe






Safety & compliance

Manufacturer
Description
VALLETTA JAPAN
4.9/86
Similar products






















